Альтернативный способ обработки планки по низу рукава в мужской рубашке

Классическая обработка планки по низу рукава – один из самых трудоёмких узлов в обработке рубашки, наравне с воротником с отрезной стойкой.

Представляем мастер-класс, посвящённый альтернативной обработке планки. Она выполняется намного проще и быстрее, при этом внешний вид и функциональность планки нисколько не страдают. Уверены, эта технология понравится как новичкам в шитье, так опытным мастерицам.

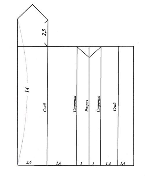
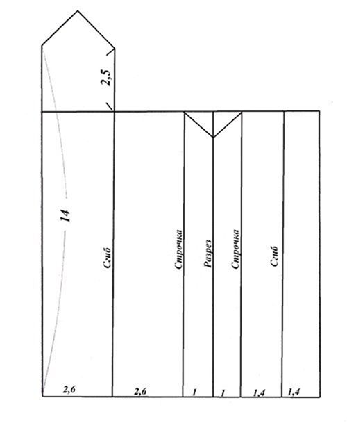
Специфика раскроя

Сначала построим выкройку планки на плотной бумаге или картоне.

Обмелите выкройку на ткани, добавив припуски на швы шириной 1 см.

Вырежьте 2 детали планки в зеркальном отражении, для правого и левого рукава.

Намелите на изнанке планки все конструктивные линии.

Обратите внимание: если ткань изделия формоустойчивая, со стабильной структурой, тогда планку дублировать не нужно. На тканях с подвижной структурой, недостаточной формоустойчивостью детали планки лучше укрепить тонким дублерином.

Мастер-класс

Заутюжьте планку по линиям сгиба в сторону изнанки.

Намелите линию разреза на изнанке рукава.

Далее будем рассматривать обработку на примере левого рукава.

Наложите планку на рукав, лицевой стороной на изнанку, совмещая линии разреза между собой, приколите.

Притачайте планку к рукаву по линиям рамки (см. выкройку) стежком длиной 2,5 мм.

Рассеките припуски рамки посередине между строчками, к уголкам выходя наискосок, не доходя до строчек 0,2 см.

Срежьте припуски шва вдоль рамки застёжки до ширины 0,5-0,7 см.

Выверните, выправьте планку на лицевую сторону. Припуски правой стороны рамки разутюжьте, затем заутюжьте в сторону планки.

Подверните правую, более короткую и узкую часть планки по заутюженной линии, приколите поверх шва притачивания планки, перекрывая его на 0,1-0,2 см.

Притачайте планку в край. Начинайте строчку, отступив по верху планки ширину припуск на шов, приутюжьте.

Наложите вторую сторону планки поверх первой, совмещая линию разметки со строчкой в уступе рамки разреза, приколите.

Отогните рукав на лицевую сторону по шву рамки.

Застрочите уголки и припуски строчкой в строчку притачивания планки.

Вид с лицевой стороны рукава.

Вид с изнанки рукава.

Подверните длинную часть планки по заутюженным линиям, приколите насквозь к рукаву.

Настрочите планку в край и одновременно поставьте закрепку в уступе застёжки.

Вид с лицевой стороны:

Вид с изнаночной стороны:

Приутюжьте планку в готовом виде.

Данная обработка подходит для тонких и средних тканей (вплоть до вельвета).

Ширину и длину планки можно варьировать в большую сторону в зависимости от плотности ткани и требуемых пропорций деталей.

Вот перечень моделей, где можно с успехом применить представленную технологию обработки.

Мужские рубашки:

Мужская джинсовая рубашка Макс521

Мужская приталенная рубашка MT060218

Рубашка Лео560

Мужская рубашка Майк573

Рубашка Майк592

Мужская рубашка реглан Дэвид599

Мужская рубашка-пальто:

Мужское пальто-рубашка Алекс220

Авторизация
Вход через социальные сети
или
С указанием E-Mail и пароля
E-Mail
Пароль